
QJ深井潛水泵



QJ深井潛水泵型號意義
例如:200QJ32-52/4
200-機座號(mm)
QJ-井用潛水
32-額定流量(m3/h)
52-額定揚程(m)
4-水泵級數
五、結構說明
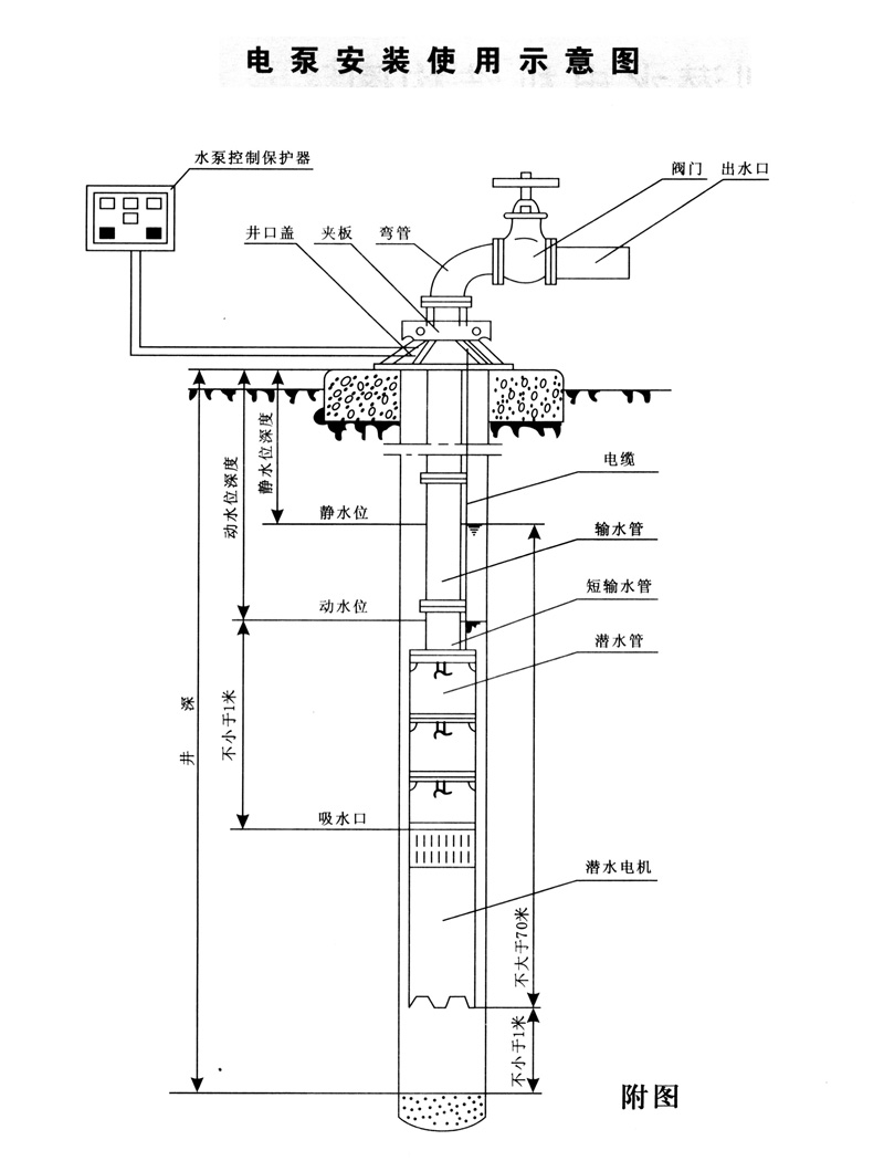
1.QJ型深井潛水泵機組由:水泵、潛水電機(包括電纜)、輸水管和控制開關四大部分組成。潛水泵為單吸多級立式離心泵:潛水電機為密閉充水濕式、立式三相鼠籠異歩電動機,電機與水泵通過爪式或中.鍵筒式聯軸器直接;配備有不同規格的三芯電纜:起動設備為不同容量等級的空氣開關和自耦減壓起動器、輸水管為不同直徑的鋼管制成,采用法蘭聯接,高揚程電泵釆用閘閥控制。
2.潛水泵每級導流殼中裝有一個橡膠軸承;葉輪用錐形套固定在泵軸上:導流殼采用嫘紋或螺栓聯成一體。
3.高揚程潛水泵上部裝有止回閥,避免停機水錘造成機組破壞。
4.潛水電機軸上部裝有迷宮式防砂器和兩個反向裝配的骨架油封,防止流砂進入電機。
5.潛水電機采用水潤滑軸承,下部裝有橡膠調壓膜、調壓彈簧,組成調壓室,調節由于溫度引起的壓力變化;電機繞組采用聚乙烯絕緣,尼龍護套耐水電磁線,電纜聯接方式按QJ型電纜接頭工藝, 把接頭絕緣脫去刮凈漆層,分別接好,焊接牢固,用生橡膠繞-層。再用防水粘膠帶纏2~3層,外面包上2 3層防水膠布或用水膠粘結包一層橡膠帶(自行車里胎〉以防滲水。
6.電機密閉,采用精密止口螺牷,電纜出口加膠塾進行密封。
7.電機上端有一個注水孔,有一個放氣孔,卜部打個放水孔。
8.電機下部裝有上卜—止推軸承,止推軸承上有溝槽用干冷卻,和它對磨的是不銹鋼推力盤,承愛水泵的上廠軸向力
|
機座號 |
流量(t/h) |
揚程(m) |
電機功率(kw) |
|
100QJ |
3.2 |
27--144 |
0.55--3 |
|
5 |
16--96 |
0.55--3 |
|
|
125QJ |
8 |
14--126 |
2.2--5.5 |
|
15 |
10--65 |
2.2--9.2 |
|
|
150QJ
|
5 |
100--300 |
3--9.2 |
|
10 |
50--300 |
3--15 |
|
|
20 |
26--182 |
3--18.5 |
|
|
25 |
24--152 |
3--18.5 |
|
|
32 |
18--108 |
3--18.5 |
|
|
40 |
8--96 |
3--18.5 |
|
|
50 |
6--72 |
3--18.5 |
|
|
175QJ(R) |
10 |
15--300 |
3--22 |
|
15 |
14--266 |
3--25 |
|
|
20 |
26--247 |
3--25 |
|
|
32 |
24--168 |
4--25 |
|
|
40 |
24--132 |
5.5--25 |
|
|
50 |
24--108 |
5.5--25 |
|
|
200QJ(R) |
10 |
52--296 |
4--22 |
|
20 |
40--1000 |
4--110 |
|
|
32 |
26--620 |
4--110 |
|
|
40 |
26--500 |
5.5--110 |
|
|
50 |
15--450 |
4--110 |
|
|
63 |
12--360 |
4--110 |
|
|
80 |
11--300 |
4--110 |
|
機座號 |
流量(t/h) |
揚程(m) |
電機功率(kw) |
|
250QJ(R) |
32 |
138--1000 |
22--180 |
|
50 |
20--660 |
5.5--180 |
|
|
80 |
20--432 |
7.5--180 |
|
|
100 |
18--338 |
7.5--180 |
|
|
125 |
16--270 |
9.2--180 |
|
|
140 |
15--280 |
9.2--180 |
|
|
150 |
20--260 |
15--180 |
|
|
160 |
15--90 |
11--63 |
|
|
300QJ |
140 |
21--300 |
13--220 |
|
160 |
25--90 |
18.5--63 |
|
|
200 |
15--240 |
13--220 |
|
|
210 |
25--50 |
25--45 |
|
|
230 |
20--80 |
25--90G |
|
|
250 |
15--72 |
18.5--90G |
|
|
320 |
28--84 |
45--125G |
|
|
350QJ |
250 |
25--100 |
30--125G |
|
320 |
30--40 |
45--63G |
|
|
400QJ |
400 |
50 |
90G |
|
500 |
20--40 |
45--90G |
|
|
450QJ |
750 |
11--40 |
45--140 |



